Skip to content Skip to sidebar Skip to footer

How To Use A Buttonhole Foot - That is how it makes perfect even buttonholes.

How To Use A Buttonhole Foot - That is how it makes perfect even buttonholes.. How to use a presser foot for a buttonhole? Then, the machine stops and reverses and even memorizes the buttonhole sizes. What's the best way to make a buttonhole? If you like to see more videos like this be. Remove your current presser foot, and then clip the buttonhole foot on.

The 4 step buttonhole setting your your sewing machine should look something like the image below. If you like to see more videos like this be. You can make a buttonhole with a 1 step or 4 step buttonhole setting on your machine. That is how it makes perfect even buttonholes. Nicki begins by showing what the buttonhole foot looks like off of the machine and explaining the basic parts.

One Step Buttonholes In Five Easy Steps Thimbles And Acorns
One Step Buttonholes In Five Easy Steps Thimbles And Acorns from www.thimblesandacorns.com
Remove your current presser foot, and then clip the buttonhole foot on. I hope you will find this basic sewing machine tutorial. Where can i buy a buttonhole foot for a sewing machine? If you like to see more videos like this be. Take the buttonhole foot and insert it in the presser foot slot. The 4 step buttonhole setting your your sewing machine should look something like the image below. How to sew buttonholes for beginners :: Then, the machine stops and reverses and even memorizes the buttonhole sizes.

If you like to see more videos like this be.

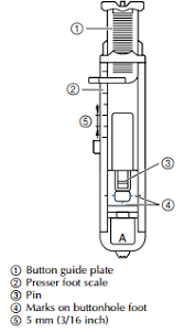
Where can i buy a buttonhole foot for a sewing machine? How to use a presser foot for a buttonhole? Nicki shows how to insert a button into this area on the foot and adjust it to fit snugly around the button and hold it in place. What's the best way to make a buttonhole? Today i will show you how to use juki's buttonhole foot. Apr 30, 2021 · how to use buttonhole foot? How to use an automatic buttonhole foot youtube? I hope you will find this basic sewing machine tutorial. Take the buttonhole foot and insert it in the presser foot slot. Nicki begins by showing what the buttonhole foot looks like off of the machine and explaining the basic parts. Then, the machine stops and reverses and even memorizes the buttonhole sizes. Attach the foot to the machine to bring the stop bar down and start sewing. There are notches on the side of the foot that work with your machine to know how long to stitch the buttonhole and an area in the back that allows you to insert a button.

Where can i buy a buttonhole foot for a sewing machine? What's the best way to make a buttonhole? How to sew buttonholes for beginners :: Today i will show you how to use juki's buttonhole foot. How to use a presser foot for a buttonhole?

How To Sew Buttonholes With Pictures Wikihow
How To Sew Buttonholes With Pictures Wikihow from www.wikihow.com
Apr 30, 2021 · how to use buttonhole foot? How to use an automatic buttonhole foot youtube? Where can i buy a buttonhole foot for a sewing machine? There are notches on the side of the foot that work with your machine to know how long to stitch the buttonhole and an area in the back that allows you to insert a button. The button hole foot is a sewing machine foot which simply clips onto the machine. The 4 step buttonhole setting your your sewing machine should look something like the image below. How to use a presser foot for a buttonhole? If you like to see more videos like this be.

How to use an automatic buttonhole foot youtube?

The button hole foot is a sewing machine foot which simply clips onto the machine. If you like to see more videos like this be. Nicki shows how to insert a button into this area on the foot and adjust it to fit snugly around the button and hold it in place. You can make a buttonhole with a 1 step or 4 step buttonhole setting on your machine. There are notches on the side of the foot that work with your machine to know how long to stitch the buttonhole and an area in the back that allows you to insert a button. Nicki begins by showing what the buttonhole foot looks like off of the machine and explaining the basic parts. How to use an automatic buttonhole foot youtube? Apr 30, 2021 · how to use buttonhole foot? Where can i buy a buttonhole foot for a sewing machine? Attach the foot to the machine to bring the stop bar down and start sewing. Remove your current presser foot, and then clip the buttonhole foot on. That is how it makes perfect even buttonholes. Today i will show you how to use juki's buttonhole foot.

There are notches on the side of the foot that work with your machine to know how long to stitch the buttonhole and an area in the back that allows you to insert a button. Apr 30, 2021 · how to use buttonhole foot? How to use an automatic buttonhole foot youtube? Remove your current presser foot, and then clip the buttonhole foot on. Nicki begins by showing what the buttonhole foot looks like off of the machine and explaining the basic parts.

Buttonhole Foot Sewing Accessory Baby Lock Products
Buttonhole Foot Sewing Accessory Baby Lock Products from img.babylock.com
How to use an automatic buttonhole foot youtube? Remove your current presser foot, and then clip the buttonhole foot on. Apr 30, 2021 · how to use buttonhole foot? How to sew buttonholes for beginners :: That is how it makes perfect even buttonholes. The button hole foot is a sewing machine foot which simply clips onto the machine. You can make a buttonhole with a 1 step or 4 step buttonhole setting on your machine. I hope you will find this basic sewing machine tutorial.

Take the buttonhole foot and insert it in the presser foot slot.

How to use a presser foot for a buttonhole? Then, the machine stops and reverses and even memorizes the buttonhole sizes. How to sew buttonholes for beginners :: Take the buttonhole foot and insert it in the presser foot slot. That is how it makes perfect even buttonholes. Remove your current presser foot, and then clip the buttonhole foot on. Nicki begins by showing what the buttonhole foot looks like off of the machine and explaining the basic parts. You can make a buttonhole with a 1 step or 4 step buttonhole setting on your machine. What's the best way to make a buttonhole? Attach the foot to the machine to bring the stop bar down and start sewing. How to use an automatic buttonhole foot youtube? I hope you will find this basic sewing machine tutorial. Today i will show you how to use juki's buttonhole foot.